人体动态结构练习#人体结构 #人体 #速写人物 #procr - 抖音

相关图片

【日绘120】人物速写丨人体结构练习.可爱的小姐姐 #图文伙 - 抖音

day16不同人物比例结构q版人物

绘画人物结构你肯定需要这些

万种人体绘画姿势图片 人物动态结构素描 手绘临摹上色参考素材

干货分享怎样画好速写人物的整体结构

随机推荐

欧洲宫廷 洛可可

iphone可爱壁纸分享#卡通壁纸 #可爱背景图 #壁纸分享 - 抖音

q版王一博

港风侧背头 静莎职业学校 美发培训学院作品

王的女人非主流

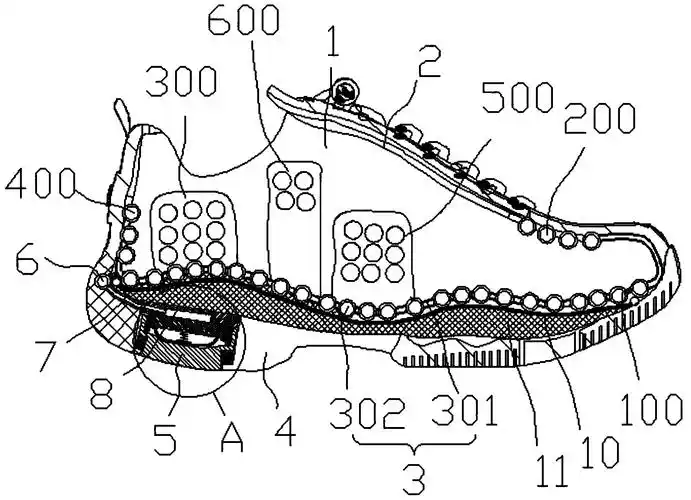
一种智能高弹力立面按摩运动鞋

逢敌必亮剑 新中国自从1949年10月1日建国起到现

明代 官家夫人造型 明末清初 汉服发型 髻立于顶,簪子饰在发髻一侧