一种多功能空竹的制作方法

相关图片

空竹知识图解双轮空竹和双轴空竹技法

中国国际空竹网

空竹知识图解双轮空竹和双轴空竹技法

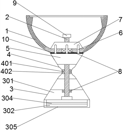
一种设有配重结构的高速旋转空竹的制作方法

大号皮碗空竹专卖 双头空竹扯铃 耐摔适合

随机推荐

头文字d

手工制作 #粘土手办 #超轻粘土手工作品 #人偶 #小萌物 - 抖音

宝藏女孩#杨颖angelababy#杨颖个人资料

黄子韬 漫画 二次元 @rpchu

记"世界上最长指甲(女性)拥有者"的生活日常

tnt时代少年团严浩翔氛围感神特辑壁纸照片

兰斯6 -赛斯崩溃-bgm_哔哩哔哩bilibili

拍摄人物全身照站姿时,挺胸收腹适合大部分的场景.