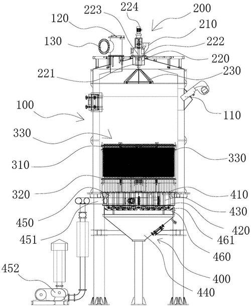
一种烤炉的制作方法

相关图片

一种新型多功能环保无烟烧烤炉的制作方法

一种烧烤炉的制作方法

一种便携式炭烧烤炉的制作方法

一种烧烤炉的制作方法

一种燃气烤炉的制作方法

随机推荐

佟丽娅的素颜勇气:为艺术献身的演员精神_是一种_挑战_才华

古风桃花背景

iqoo8手机壳防摔iqoo8pro男新款vivo爱酷8液态硅胶iqoo全包iq8磨砂iq

卓不凡 - 22岁嫁豪门惹人羡,不料久病被离婚,前夫不仅再婚还当了爸爸

《花好月又圆》:李庚希黄俊捷上演错位爱情,假郡主爱上双面少爷

堆糖仙儿头像绝美可爱闺蜜头像

【undertale-amv】"让我们来造绯闻吧!"-传说之下衫福sf向

恒大冰泉水源地为吉林省长白山深层矿泉,与欧洲阿尔卑斯山,俄罗斯