鞠婧祎很美腻

相关图片

鞠婧祎芒果年货节造型

鞠婧祎

鞠婧祎无所不能的鞠婧祎乐器合集

鞠婧祎东方风云榜红毯性感图片1414

【京东618开心夜】嘉宾: 林俊杰,那英,罗云熙,刘宇宁,陈哲远,#鞠婧祎

随机推荐

tntq版|插画|商业插画|大猫子嗷呜 - 原创作品 - 站酷 (zcool)

动漫高桥凉介头像_微信头像图片大全

忍不住重刷n遍的漫改剧棋魂60

海报印制664素材622服装店夏秋装促销宣传海报图片

给离婚爸妈订同一间房,戚薇老公被骂上热搜:要尊重父母

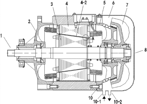
一种锥形转子电机制造技术

吴亦凡减肥成功,原相机镜头下瘦出尖下巴,颜值回春帅成漫画脸

蓝紫渐变发色宇宙星云