一种用于w型压缩机的气缸结构的制作方法

相关图片

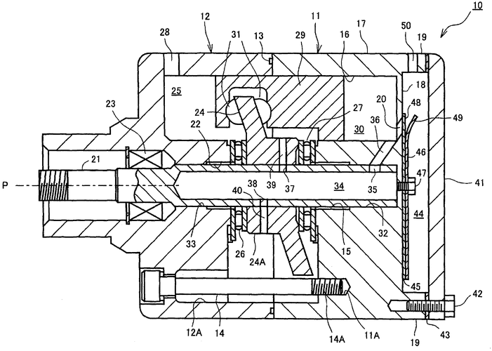
空气在发动机气缸中通过膨胀将热能转化为机械能;气体在压缩机气缸中

结构简单,制造成本低,便于不同排气量气缸的批量生产的活塞式压缩机

离心式压缩机缸体.jpg

cn102678520a_活塞式压缩机的气缸体及其制造方法失效

一种高转速大功率活塞式压缩机气缸的制作方法

随机推荐

回顾同样小揪揪造型把王一博胡歌千玺放在一起差距出来了

exo粉丝用韩语写中文土味情书,看表白爱豆哪家强?

创意简约爵士音乐派对海报设计

部落冲突12本 部落战阵型分享第52期,[犹太coc]

进击的巨人_小天使艾伦 (-何处暖阳不倾城°)

ok八年级地理特别行政区-香港和澳门课件ppt

吕洞宾因何到泰山?又因何在泰山王母池旁边修练?

王子瑜写真-750x1120.161k.大图-明星写真馆n63.com