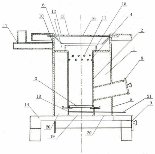
二次燃烧高效采暖炉的制作方法

相关图片

筷子筒做的柴火炉燃烧效果不错

关于进藏用柴气炉做饭的柴火问题

一种二次进风高效节能炉制造技术

cn105387714a_一种二次燃烧炉有效

何为壁炉的二次燃烧

随机推荐

2024春节档评分出炉,沈腾最高,刘德华掉队,张艺谋叫好不叫座_腾讯新闻

希望《以闪亮之名》可以出第二套旗袍

请帮我ps一张图片,维度是1024*1024的,背景白色,内

李凯馨,愿甜美的笑容,常挂在她的脸上

小清新壁纸第二波

花75亿韩元买豪宅!女团blackpink成员lisa,吸金能力令人惊叹

四年级画动漫人物男生 - 抖音

原创工业革命为什么选择了英国而不是我国?人口多了并不是好事