活塞式压缩机的基本结构和工作过程

相关图片

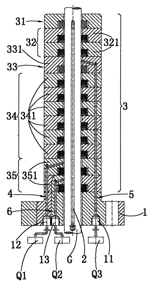
cn213392560u_一种活塞式压缩机的填料组件有效

活塞式压缩机概述.ppt 47页

往复压缩机填料

填料(图下图)是阻止气缸内气体自活塞杆泄漏的组件,包括主,副填料亮

往复活塞压缩机油润滑填料函应用 上>

随机推荐

动漫闺蜜头像二人可爱仙气图片37组_闺蜜姐妹女生头像_头像屋

生化危机看了很多遍,却始终忘不了李冰冰的艾达王!

歌手李佳宁推出首个单曲两琴相悦为中秋献礼

王一博 发几个代言品牌的封面图 - 抖音

可爱文字壁纸锁屏壁纸套图罪恶女兔zent

水彩书籍颜料调色方法get71上篇

手绘情侣头像画师:西哩哩(小红书)

10款小男孩发型推荐越剪越有型给你儿子选一款吧