桃花醉中秋番外

相关图片

范丞丞会捏住还没清醒的小恋人的下巴,强硬的把他的脸掰到自己

皇权富贵 #皇权富贵范丞丞黄明昊 #皇权富贵天生一对 #皇权富贵

justin天才少女的笨蛋老公

lofterforipad让兴趣更有趣

lofter for ipad —— 让兴趣,更有趣

随机推荐

超绝的时代少年团队长马嘉祺戴眼镜斯文精致真的被击中了

李沁时尚极限挑战,半透明上衣展现曼妙身材

就是李菲儿和媒体谈到自己有次不小心看到baby发给男友的短信:你什么

美的(midea)电热水器60升家用电热水器 f6021-yj2(hy)报价_参数_图片

日落, 北海, 海, abendstimmung, 海滩, 海岸, 云, 傍晚的天空, 波

皇权富贵

天使翅膀简笔画图片

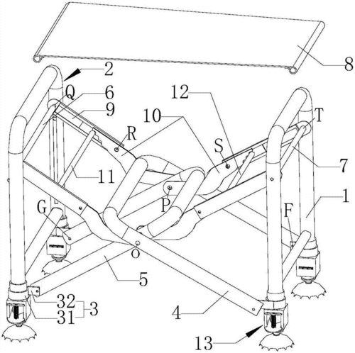
多功能便携式折叠钓鱼椅的制作方法