净水器

相关图片

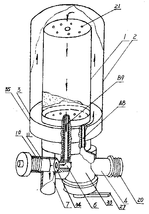
cn201135803y_一种可以净化水质的净水器失效

一种多级循环净水器的制作方法

一种净水机的制作方法

一种一体化净水器的制作方法

一种基于物联网的净水器制造技术

随机推荐

陈岚:情与义侠与柔叱咤港坛多年,江湖谁有她混得溜?

手写 #接投稿 #tnt时代少年团 #刘耀文

冲呀姐妹春拍记④8个闺蜜搞怪拍照姿势让她陪你一起奇奇怪怪可可爱爱

真三国无双貂蝉古力娜扎

2024夏季小男孩发型来了,两侧铲短很百变,剪完真帅气

[太阳]中央电视台cctv-15音乐频道 《民歌.中国》栏目 - 抖音

67lil-soda6月1日 09:44小鬼王琳凯超话97#小鬼直播清唱新歌

烈火如歌薰衣扮演者是谁马德丫个人资料曝光跟朴信惠好像