图10-25单层39tl旋转开关的结构 图10-26 3极3位开关的符号图10-26

相关图片

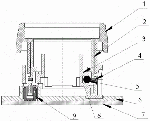
cn110383204a_旋钮结构,调焦旋钮,遥控器及云台

一种旋钮开关的制作方法

按钮开关ppt

反转开关直流正转直流电旋钮正反手动马达电机开关

cn107910220b_一种组合式旋钮拨杆开关装置有效

随机推荐

14m上传时间:2021-05-12壁纸标签:王王源4k电脑壁纸壁纸封面图王源

解读:微信表情包的扩展含义 微信表情包emoji 的真正含义: 长按表情包

赵今麦新剧后劲太大女主开挂次次拿第一

傅晶和唐曾是两口子吗揭秘两人真实关系结婚照疑曝光了

肖央《扫黑·决不放弃》未映先火:五百执导大电影!

健身女神张梦露高踢腿照帅气逼人

相爱未晚 (伴奏)_陈瑞_高音质在线试听_相爱未晚 (伴奏)歌词|歌曲下载

啄木鸟2024夏季纯棉男士短袖t恤潮流宽松圆领衣服打底衫全棉t半袖!