2021韩式短发发型女图片,秋季必火的短发发型_发型造型_宝妈时尚生活

相关图片

今秋流行"韩式短发"

时尚女生韩式短发烫发发型图片

精剪韩式波波头抓住时尚才够辣极力推出自然美少女短发造型

2017韩国流行发型短发这些韩式短发甜美减龄更可爱

减龄挂耳短发可盐可甜的韩式短发发型

随机推荐

gucci古驰小蜜蜂星空玫瑰金色皮带休闲石英女士手表ya1264096预售代购

娱乐连连看:肖战,时代少年团,成毅,田曦薇,秦俊杰,张元英_作品_艺名

唯美黄昏逆光,打篮球 (3)

少女心唯美梦幻星空写真,高清图片,电脑桌面-壁纸族

美女写真女生可以爱美到什么程度

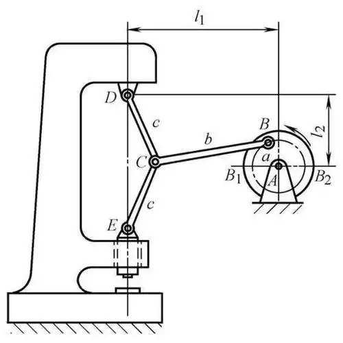
=300mm,l =150mm.以1/4的比例尺画出机构运动简图.

短耳兔小胖(短耳兔小胖墩)

手机壁纸创造101王晴