cn200947941y_一种改进型折叠躺椅失效

相关图片

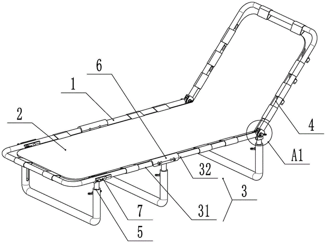
一种折叠式躺椅制造技术

一种智能折叠躺椅的制作方法

一种折叠躺椅的制作方法

一种可遮阳的方便收纳的多功能折叠躺椅

大型活动专用折叠椅 推广活动专用折叠椅子

随机推荐

图1 生物技术实验室

杜老师的儿童画课-------线描人物头像

1华为p40原生自带壁纸,高清锁屏图片,手机壁纸-桌面城市

林志玲早期素颜生图,优秀的桃心脸,大骨架,看起来就是特别舒展自然的

加菲英短串领养.母猫,超黏人.坐标佛山千灯湖

终于找到了一家高颜值眼镜店

动漫帅哥头像黑白图片大全_男生动漫头像_头像屋

oloey漆皮男士皮鞋尖头高跟鞋夜店男鞋子英伦男式鞋黑色皮鞋高跟鞋男