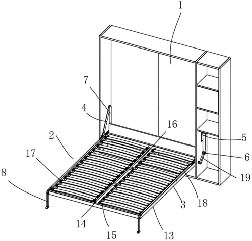
一种手动与电动一体化的翻折床的制作方法

相关图片

一种新型超长四折折叠床

1.本实用新型涉及家具领域,具体涉及一种新型结构的实用折叠床.

强象定做家用折叠床隐形床壁床双人单人简易正翻隐藏床墨菲床小户型ch

一种支撑脚的固定结构及具有该固定结构的折叠床的制作方法

占用空间小被人们广泛应用,目前的折叠床种类繁多,存在的问题是结构

随机推荐

原创tfboys私底下的新合影来了!三人紧挨在一起,笑得像个烂柿子!

2020最好看的懒人盘发,简单时尚,一分钟学会

终于找到啦60适合小个子女生的室内婚纱照

卡通人物二次元银杏落叶动漫卡通壁纸

壹城中心124.00㎡户型图

虞书欣 刘雨昕 喻言 谢可寅 赵小棠 许佳琪 孔雪儿 金子涵

欧美健身美女性感图片桌面壁纸

近日,由浙江晟喜华视出品的年代传奇动作电视剧《烈火刀影》在横店