电机制造工艺流程图1

相关图片

锥形转子电动机常见故障盘点

在干燥过程中,电机绕组温度应逐渐升高,且不可超过绕组绝缘等级最高

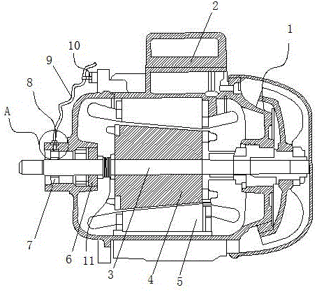
一种锥形转子电机制造技术

制动轮8的位置的电动机的右侧,通电电机转子右移,制动器打开,它的传动

已下架慢速工作时,起重辅电机1通电,小齿轮2,中间齿轮3和大齿轮4(齿轮

随机推荐

tfboys分享170725五棵松三人表情包来一发各种小表情萌翻了

原创周海媚老来更"美艳",眼角爬满皱纹也魅力十足,丰盈得让人羡慕

丰田toyota 86

中式婚礼红色新郎长袖秀禾服男士唐装 结婚礼服敬酒服古装

4k/8k双宝牌150-230g素描纸铅画纸水粉纸水彩纸8开4开素描王厂家

金鸿鸣与女友登记结婚.(资料图)

阳江海陵岛超火ins风粉色沙滩

大笑卡通图片