我飞全地形欧式钓椅折叠多功能可躺睡野钓椅升降腿户外折叠椅

相关图片

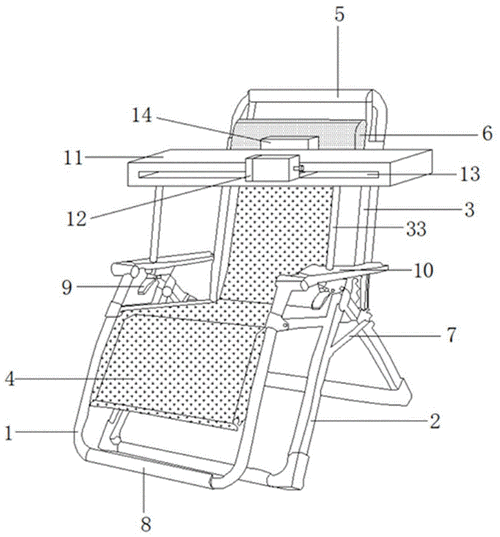
一种脚踏式按摩钓椅的制作方法

钓椅多功能钓鱼椅全地形折叠便携台钓加厚座椅凳子渔具垂钓用品

恒冠2019新款钓椅多功能钓鱼椅折叠轻便携台钓椅凳子鱼具用品特价

新款欧式钓椅便携折叠台钓椅子超轻可躺多功能钓鱼椅可升降筏钓凳

钓椅的猫腻多数钓鱼人中招简单调整一下结果帅呆了

随机推荐

吕中:儿子是知名导演,儿媳是国际影后,女儿是她永远的骄傲|演员|话剧

注射死刑的药物不是毒药吗?为什么更为"人道"?原理是这样的

短发发型女露耳朵 - 搜狗图片搜索

【图】重温使命电视剧向公安致敬 揭密主演张嘉译的过往心酸血泪史

中国风黄底养生泼墨背景

梅婷现任70岁老公曾剑个人资料

刘敏涛同款衬衣

简介信息:|诗歌试听|加入收藏|错误反馈|打印歌谱|查看同名歌词