cn109996468a_倾斜折叠躺椅

相关图片

一种稳固结构有安全扣的折叠躺椅的制作方法

一种姿态可调节躺椅的制作方法

一种智能折叠躺椅的制作方法

一种陪护躺椅

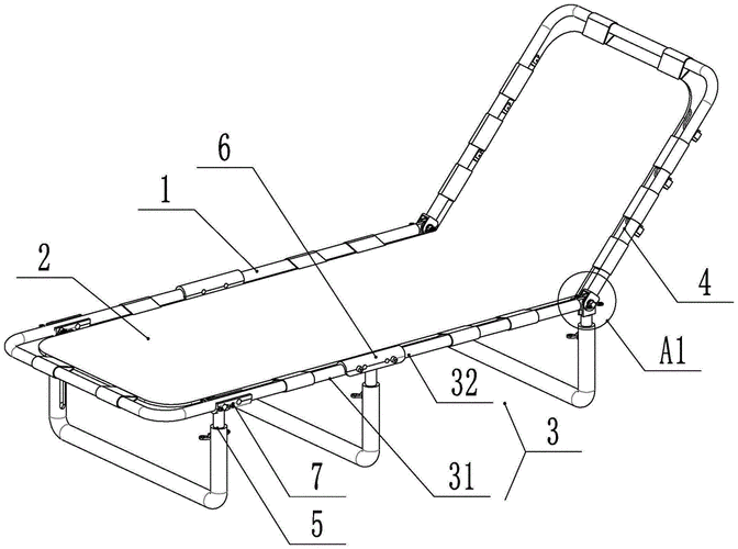
本专利技术涉及一种家具结构,尤其是涉及一种多功能躺椅

随机推荐

【q陛】小动画风格/简笔画可爱画风头像

减龄又有气质的短发,中年后就这样剪,简单大方又好看

我和你还有一枚小可爱,手牵手一起走#路灯下的影子 #一家三口

蔡徐坤头像

东北贼王:新中国第一个被枪决的小偷,立下规矩两种人不能偷

有一点动心吉他谱 a调附前奏-张信哲

头发太多太厚,应该剪什么发型?

格格