一种折叠躺椅

相关图片

一种稳固结构有安全扣的折叠躺椅的制作方法

一种可拆卸式休闲躺椅的制作方法

探露躺椅户外折叠椅露营椅子便携式月亮椅办公室午休沙滩椅钓鱼 米

cn303821466s_躺椅有效

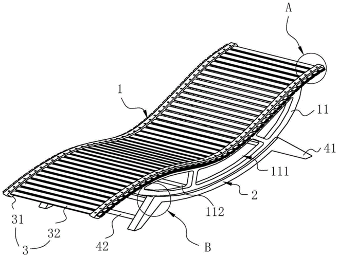
本专利技术涉及一种家具结构,尤其是涉及一种多功能躺椅

随机推荐

清新淡雅的花语脚裸纹身

今天就要专门看腹肌八块标致的巧克力腹肌令人垂涎欲滴啊

341_566竖版 竖屏gif 动态图 动图

最适合双马尾的女明星#跑男迪迪是多少人的白月光#迪丽热巴

万江防雷接地工程

通勤ol中长款西装 挺阔显瘦 女士单排扣西服外套 女款

波斯的蓝色

酒醉的探戈曲谱_酒醉的探戈简谱歌谱