Warning: session_start(): open(/tmp/sess_vb8b3k0teqd28kbob3g9ckigff, O_RDWR) failed: No space left on device (28) in /www/wwwroot/www.nnbbaa.com/config.php on line 2

Warning: session_start(): Failed to read session data: files (path: ) in /www/wwwroot/www.nnbbaa.com/config.php on line 2
具有平行螺杆头段的锥形单螺杆挤出机 - 能吧图片库

具有平行螺杆头段的锥形单螺杆挤出机

相关图片

资料全套-双螺杆挤出机(挤出粉末)的设计【10张cad图纸】

cn101480841a_epe/eps单螺杆发泡挤出机通恒温油冷却前段内壁的螺杆

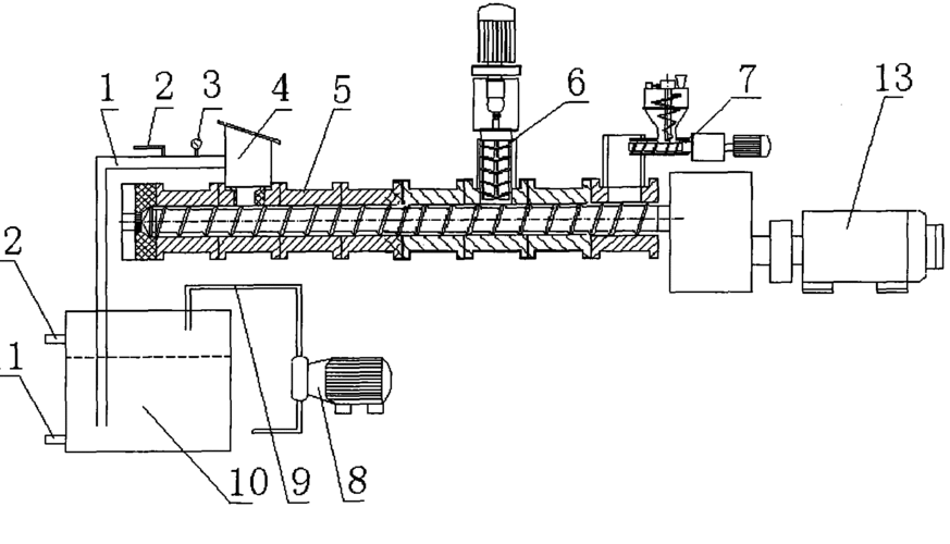
一种管材生产线用单螺杆挤出机

单螺杆挤出机结构及主要零部件

一种橡胶混炼螺杆挤出机及加工方法与流程

随机推荐

王俊凯 171212 口碑1212超级狂欢派对 cr:logo 《焕蓝未来》

露水红颜电影迅雷下载_露水红颜结局票房_刘亦菲仙女范剧照完爆唐嫣

得普声d825双15寸舞台演出音箱hifi户外大型舞台酒吧婚庆乐队校园晚会

李宁板鞋男鞋秋季新款白色鞋子低帮运动小白鞋潮流休闲鞋问答

"萍水相逢,有缘无份" "这次就放过你啦" "再见啦 过路人 - 抖音

手办 #潮玩手办 #论喜欢的角色出了手办 #少女前线

blackpink成员jennie美图壁纸你吃她的颜吗

如何看待大学生穿高跟鞋上课?