任嘉伦头像壁纸:国超阳光帅气头像壁纸合集

相关图片

分享一组任嘉伦图片给大家,图中的明星图片壁纸会点缀你的电脑桌面

任嘉伦壁纸任嘉伦头像

任嘉伦头像壁纸:国超阳光帅气头像壁纸合集

任嘉伦头像壁纸:国超阳光帅气头像壁纸合集

解脱爱你 -任嘉伦21.1.15

随机推荐

brushlettering教程手写英文花体字手帐素材斑马双头笔刷wft8购物开箱

九阳(joyoung )电饭煲jyf-40fe01a

蔡徐坤壁纸我喜欢你笑起来眉眼弯弯更喜欢你舞台上炸裂的台风

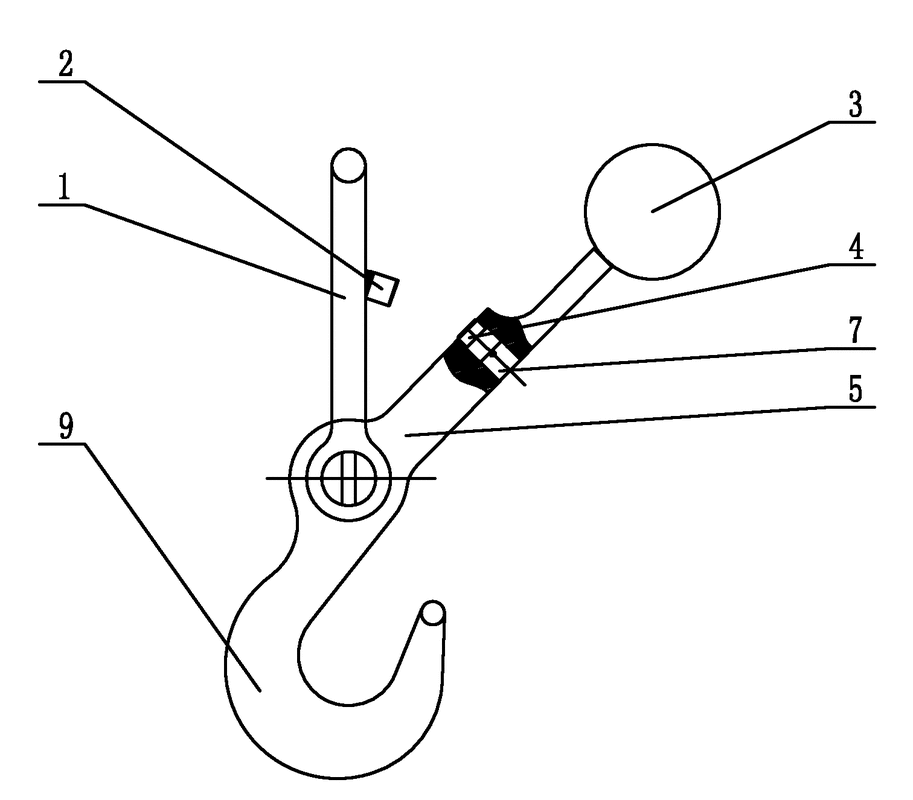
奋斗者号出水和入水起吊过程中,为什么需要蛙人去摘取缆绳

百度翻译如何下载和使用离线翻译包?

20171207 黄景瑜出席《嘉人中国风10年超级盛典》

皮肤偏方5支仅28元正品品包济明堂草本抑菌乳膏皮肤消毒护理消

一些卡通人物形象