图4为自动 脱钩装置液压原理图.

相关图片

快速脱缆钩自动脱缆钩供应商码头设备登船梯船用式登船梯

自动脱钩夹具,在3d动画的演示下我明白了它的工作原理,内部设计真不错

一种起吊作业自动脱钩装置

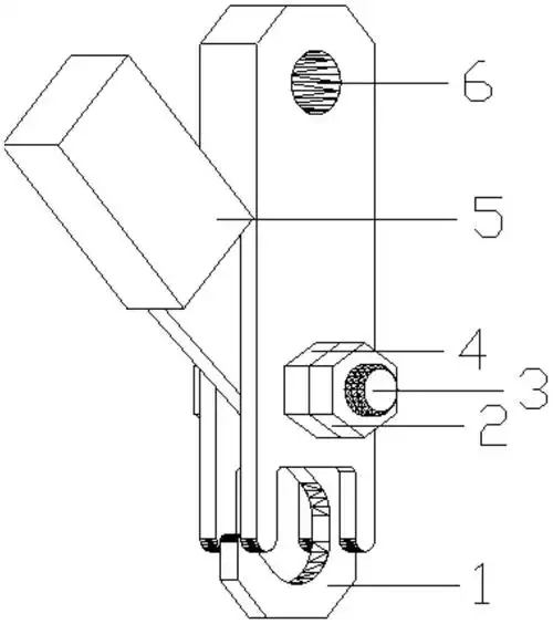
一种自动脱钩装置的制作方法

自动脱钩装置

随机推荐

刘涛卸妆后,蒋欣卸妆后,再看杨紫卸妆后,差别一目了然_化妆_状态_明星

杨颖曾经爱过魏世宗,比陈伟霆早一步,他是个家庭富裕的小伙

耳垂上长痣的人财运极佳为人忠厚健康长寿身体无虞

ai绘画壁纸未来人形酷炫机甲战士4k超清原图

有哪些少女心的可爱的电脑壁纸

小提琴指法(一把位二把位三把位)#小提琴 #小提琴教学 #小 - 抖音

治愈系女主万鹏

杨超越白色连衣裙青春活力写真_的设计_穿着_裙子