中国风古典背景元素矢量图片素材

相关图片

古典元素

矢量的古典装饰品装饰设计元素模板

典雅端庄古典图案免扣素材免抠素材免费下载_觅元素51yuansu.com

中国风祥云古典底纹元素 祥云矢量图

传统古典图案素材免费下载_觅元素

随机推荐

当时护法大妈本来只有一句台词,你为什么不早说,结果到了电影拍摄时

海浪纹身图片_原创图腾静物国画传统背部成品植物习俗腰部纹身图案

刘昊然vivos10系列代言人

学前教育个人简历求职意向.doc

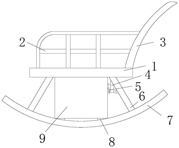
本实用新型涉及小摇椅技术领域,具体为配合高脚椅的小摇椅.

中支黄熊猫香烟求鉴别真伪

【图】歌手古巨基婚礼名单巨星云集 刘翔成身高担当

ipad壁纸平板电脑壁纸