有山有水挂画流水生财聚宝盆招财国画旭日东升山水画靠山20人付款68

相关图片

人财两旺的山水画微信头像 山水画头像图片大全(2)

吴东 小六尺《宝地生金》聚宝盆山水画 - 聚宝盆山水画 - 99字画网

孙宏正老师六尺聚财山水画《鸿运当头-聚宝盆》欣赏

鸿运当头聚宝盆山水画

山水画迎客松装饰画聚宝盆画流水生财客厅办公室墙贴壁画一件

随机推荐

肖战帅气写真,高清图片,电脑桌面-壁纸族

张国荣去世地点布满鲜花

新洛可可时代下的克里诺林裙

宋小宝笑人物恶搞 免费

lovelive;love live の高阪穗乃果;头像;动漫女头;二次元女头;q版

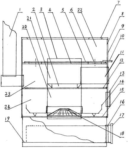
炉胆及附件构成的聚温,灭烟,热量缓流的柴火炉的制作方法

自然短碎盖 短碎盖发型,这种自然碎发特别适合一些五官立体,轮廓分明

超搞笑的gif动态其它尺寸可爱卡通静物插图之_360图片