农村无烟柴火灶设计图纸4款农村柴火灶台设计图欣赏

相关图片

新式无烟柴火灶建造方法(柴火灶怎样做到无烟)-3

一种无烟环保的柴气炉的制作方法

一种无烟柴火灶的制作方法

cn113063163a_一种旋转火焰无烟柴火气化炉在审

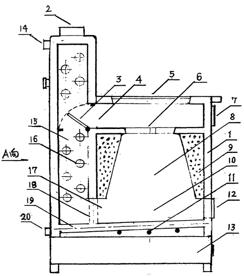
节能无烟炊灶锅炉

随机推荐

tfboys十年之约唱响夏夜西安 优酷独家直播展现青春告白

王源头像 偷拍被发现了怎么办(⊙o⊙)! 带回家!

孙艺珍带老公玄彬和儿子一块出去春游网友我不相信坐等反转

鬼灭之刃精美动漫人物高清桌面壁纸

张彬彬发自拍照作为粉丝福利网友炸锅像90后了吧

孔侑这样子的像小田切让在下巴为突出胡渣也是凸显脸尖的一种手段#how

漏斗不锈钢特大号50cm工业用磨浆磨粉机大口径进料灌装漏斗

【图】关喆绯闻曝光 揭秘其惊人家庭背景