一种柴火集成灶制造技术

相关图片

一种二次进风高效节能炉制造技术

什么是省柴灶?使用省柴灶有哪些好处?

柴气炉原理和方案设想

供热炉灶通风干燥设备的制造及其应用技术

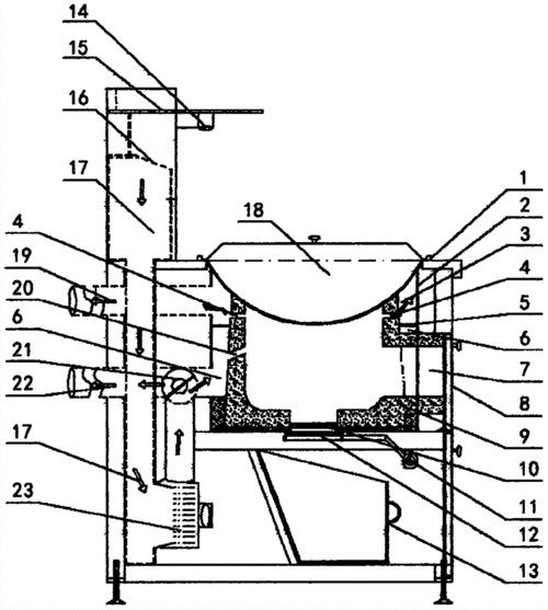
进料口直接与炉芯相连通,炉芯的底部设有进风口和风量调节板,炉芯下部

随机推荐

张馨予赵丽颖陈妍希于正版神雕侠侣女演员比美图

杨蓉个子不高身材比例好一字肩拖地裙秀婀娜曲线明艳动人

肖战和前女友分手十年,提起时仍难以释怀,女孩到底有什么魅力?

男生推荐烫发2021 不同风格的烫发发型

左变道的箭头符号较为小.向左变道标志:1.表明只准一切车辆向左拐弯.

古风美男 sd娃娃 bjd 玩具 人偶 壁纸 萌物

ipad壁纸超清电脑壁纸朋友圈背景图

男友劈腿家暴我提出分手一个月后知道原委我哭着求复合