手绘花朵线条花图片

相关图片

线描花卉

花卉线条练习

手绘矢量图线稿植物花卉复古线条花朵装饰印花元素ai平面设计素材

手绘花黑白线条图png素材

手绘黑白线条花卉植物图案

随机推荐

华晨宇头像

演员任程伟:裸婚居住"老鼠房"7年,与老婆相爱28年零绯闻

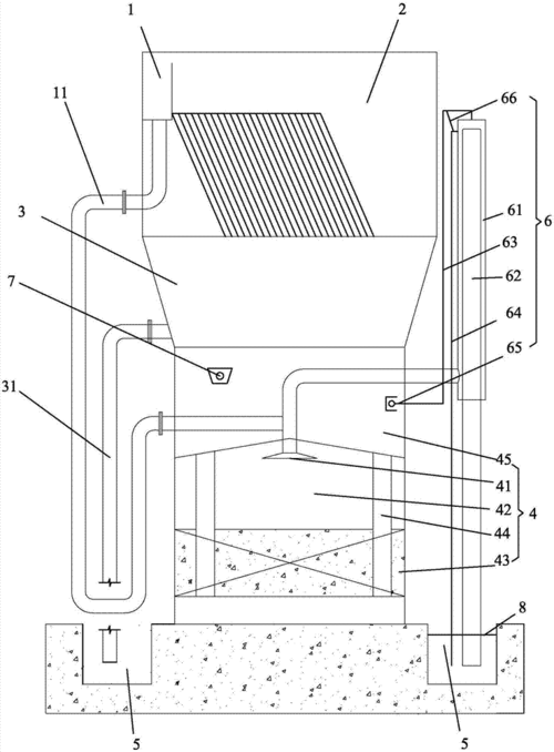
双层式一体化净水器的制作方法

八,九十年代的著名女星林芳兵在电视剧《杨贵妃》中扮演杨贵妃时 - 抖

情侣自拍姿势双人拍照

王源机场

云顶之奕所英雄推荐出装,所有装备适合的英雄,大选再不慌

彩色oldschool纹身手稿|花臂拼接素材 适合喜欢彩色的欧美拼接花臂 小