空调制冷部件,涡旋式压缩机结构原理,吸气,排气与喷气增焓

相关图片

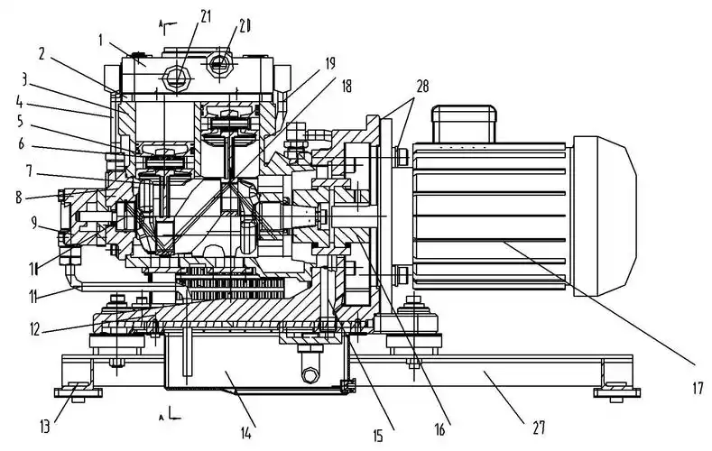
一种回转式压缩机

25气泵空气压缩机工业家用木工喷漆小型高压2.2kw

空气压缩机原理及其装置

空调也被卡脖子?日本撤走空调压缩机产线一年,国产替代仍需努力

空气压缩机,气动系统和车辆》是瑞立集团瑞安汽车零部件有限公司于

随机推荐

迪丽热巴吴磊

抽烟男头 / 爱情这东西 玩明白_男生头像_我要个性网

结婚26年纪念日祝福语179句

王俊凯《时尚先生》封面首发,光影中的小凯告诉大家什么是少年初长成!

90好莱坞黄金年代电影推荐 90乱世佳人(1939)一个独立女性的强大

红粮谷红梁三千酿好酒只取一斗真品味

中国身高最高的10位女演员排行榜,她们的平均身高接近180cm!

我跟身高差30cm的男孩恋爱啦冬日加长版78158vs188的冬季约会日记