612伏铅酸电池充电器电路图

相关图片

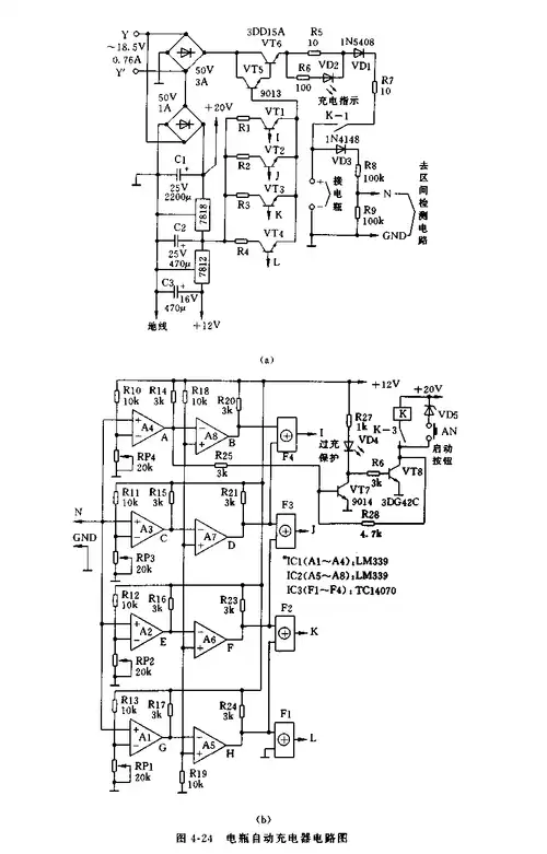
12v蓄电池充电器原理图

12v汽车电瓶充电器电路图

12v电瓶充电器电路图

12v铅酸蓄电池充电电路图问题请各位大侠帮忙分析一下

12v到220v蓄电池(组)均适用的充电器电路图

随机推荐

王俊凯说发微博更像发朋友圈

赵丽颖贵气的闪##白玉兰颁奖

金星和迪丽热巴粉丝怼起来了,有人将金星的脸ps到迪丽热巴的海报上

狗狗情侣头像

王子文身着一袭金色长裙惊艳亮相,华丽的裙摆与高达20厘米的高跟鞋,本

首届视界大赏颁奖盛典揭幕刘媛媛获公益音乐奖

ps4铁拳7游戏攻略依莱扎eliza主力技能连段攻略

《植物大战僵尸2》路障僵尸介绍