摇摇车原理?

相关图片

摇椅弓的制作

射箭手册弓箭的沿革复合弓

反曲弓复合弓与箭支图解1最新赛事更多>>> 反曲弓复合弓与箭支图解09

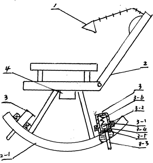
折叠摇椅的制作方法

成都柏木逍遥椅简易家用阳台实木摇摇椅椅户外懒人午休躺椅老人椅

随机推荐

青年演员徐冬冬的气质艺术照合集

蔡徐坤 壁纸 背景图-图文来源于网络-若侵-删歉

1440_2160 竖版 竖屏

光头胡须才是成熟的标志今年最新款男生光头胡须造型设计3

小鬼王琳凯[超话]##王琳凯可爱##unicorn-小鬼-王琳凯

蜜蜂少女队刘雨昕写真图片89

天气晴朗,一家四口了(爸爸,妈妈,姐姐,弟弟)一起去逛公园,本来是一件

新款儿童拉丁舞裙演出服少儿女童表演比赛舞蹈服装女孩亮片流苏裙