杭州钱江新城二期要建超40万平方米的地下"隐形城市"

相关图片

315-350方围合式小区商业大平层 钱江新城二期正式拉开帷幕

"迎亚运,展形象"钱江新城二期攻坚行动报道——用心用情用力推进"回迁

杭州钱江新城二期最新进展 钱塘江边新增多个地标

钱江新城二期最新进展一批安置房学校要建成钱塘江边新增多个地标

钱江新城二期规划打算这么干_浙江在线·住在杭州·新闻区

随机推荐

上海阔太黄圣依晒照露肚脐四块腹肌精致迷人39岁身材纤瘦柔韧好

易烊千玺发型脏辫看起来阳光锡纸烫看起来乖巧但都输给了它

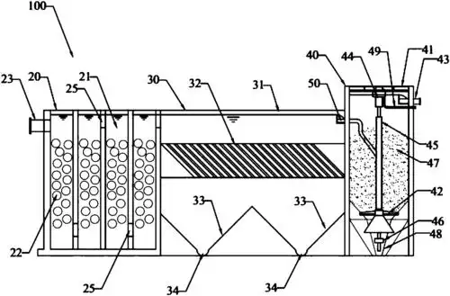
cn208429971u_一体化净水器有效

寿司图片

头像一组伤感忧郁动漫丧头

现货纸盒订货特硬电商服饰快递盒 包装盒打包纸t4牛皮瓦楞飞机盒

常见的十六种百合花,哪款是你喜欢的呢?记住别买错了哦#百合花 - 抖音

男士纹眉美容宣传海报设计