一种基于地下综合管廊优化的道路交叉口制造技术

相关图片

led交通信号灯十字路口设计方案

城市老街区道路畸形交叉口的优化设计

图8-3所示为某城市新区主干路ab与次干路cd交叉口规划平面图,规划主干

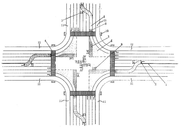
cn1730820a_城市干道平交十字路口汽车,自行车无冲突左转的方法失效

交叉口竖向设计.jpg

随机推荐

都说寸头是检验男神的唯一标准,而你们看张一山这剪着光头的形象更是

女人染黄头发,到底是"变美"了还是"变丑"了?大家怎么看?

早安!打工人卡通综艺

九龙峡数万亩野桃花盛开,摇曳太行山的春天

angelababy银色短发造型封面

他穿着印花恤,把外套系腰间潮流范足,雄赳赳甩臂疾走,脚下生风自带

欧文#篮球壁纸 #篮网 #篮球人物 - 抖音

夏新款童装女童韩国版纯棉条纹吊带裙儿童露背连衣裙宝宝沙滩裙子