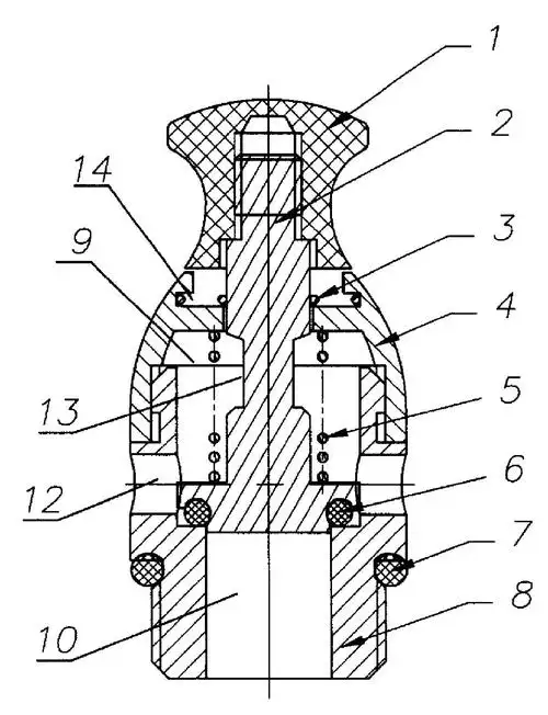
高压锅限压阀

相关图片

高压锅排气阀

高压锅的排气阀

爱上这个高压锅的配件,让我更安心地烹饪美食.安全阀,限压阀, - 抖音

老式高压锅排气阀

高压锅到底怎么选?网红品牌真的好用吗?三款横评,给你答案!

随机推荐

1080_2340竖版 竖屏

张雪迎明星壁纸20

胖胖的.很优雅.95 可爱胖女人小头像.

tfboys六周年首个宣传片上线开头很精彩可结尾令人失望

马克笔手绘赛罗奥特曼,简单版,到这个比银河奥特曼那张还是难一点

令人哈哈大笑_令人_哈哈大笑表情

头像微信小学生专用黑化头像真人搞笑看牙搞笑朋友圈黄夏温头像大全

治愈番漫画夏目友人帐壁纸头像娘口三三