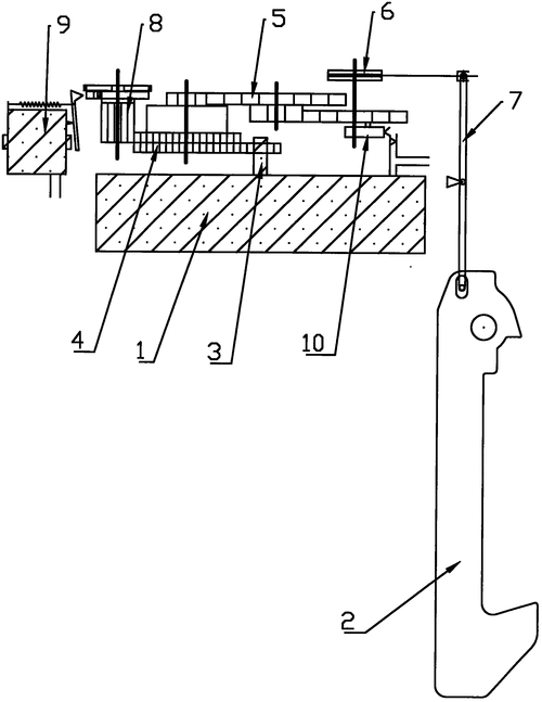
不便,危险系数高,效率低下的问题,包括连接板,连接板的顶部设置有挂钩

相关图片

cn208498652u_agv后牵引自动挂钩机构有效

自动脱钩 起重吊钩 吨包袋免摘挂钩 行车吊车挂钩 吊装钩 自 - 抖音

一种用于吊装设备的自动脱钩机构的制作方法

一种可伸缩式挂钩

防坠落安全挂钩装置

随机推荐

告别老气横秋,中短发这样烫,时尚减龄又显气质_发型

老照片 倪萍与邓丽君猜猜谁是谁?

刘诗诗年龄

仙气古装美女唯美高清桌面壁纸

都暻秀,笑起来的时候眼里有星星,可爱到爆炸!

熊出没鬼畜搞笑配音

虎不能跟什么属相在一起共事,属虎人和什么属相的不能住一起

p>冥王星( pluto,小行星编号为134340,天文符号为 )是柯伊伯带中的