事实证明,离婚两年后,陈思诚和佟丽娅各自走上了属于自己的道路

相关图片

陈思诚_陈思诚介绍_图片_作品-猫眼电影

"臭名远扬"的四位导演,出轨成瘾,骗女明星同居多年却不娶_陈思诚_才华

但从如今其几部作品的表现及内部关联性来看,陈思诚确实是在推动唐探

陈思诚与阮巨:年龄差异巨大的娱乐圈情侣

陈思诚再被推上"神坛"?力压胡歌黄渤新作,《误杀》成最大黑马

随机推荐

安卓(android)美国 嘻哈 歌手 jayz高清手机壁纸免费下载,安心市场-用

头像原画# #男头像# #速途# #素描# #侧脸# #欧美模特#.

王斑

在一切变好之前,我们总要经历一些不开心的日子,这段日子也许很长

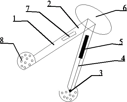
13条屋面防雷接地施工检查要点

牛筋底老北京布鞋男鞋老人软底男士爸爸鞋子休闲时尚春秋款透气

桑琴游泳衣女分体裙式平角学生学校游泳课保守显瘦温泉少女装甜美可爱

中长发气垫烫什么发型好看(今年流行减龄全头烫发型)(18)