起重设备及强夯机自动脱钩器

相关图片

自动脱钩夹具机构原理动画 |曲风/动感卡点_网易视频

快速脱缆钩自动脱缆钩供应商码头设备登船梯船用式登船梯

拉绳式快速脱钩器

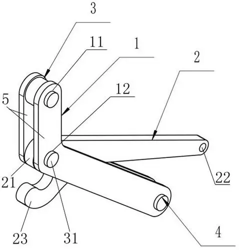
自动脱钩装置

图4为自动 脱钩装置液压原理图.

随机推荐

杨幂超话送上今日份限定 "甜美系rocker"@杨幂的舞台现场图78天地

五彩绚烂美丽的海底世界桌面壁纸

鸟酱和哒哒猫@哒哒猫club来教你保姆级教程,轻松画好漫画少女五官!

二胎后首复出,金泰熙40岁的"鸡蛋肌"不科学

男生剪短飞机头发型颜值帅爆了!

一吻定情电视剧海报

白信

云飞:成名后和妻子离婚,二婚娶小10岁北大才女,今婚姻状况如何