高端大气上档次劳斯莱斯桌面壁纸

相关图片

途锐上新:深藏不露有内涵,低调稳重显大气

android安卓开阔 风景 阳光 大气 旅游 风光 旅游胜地高清手机壁纸

简约大气黑色背景图标高清壁纸

奥迪汽车壁纸豪华的汽车品牌

成熟稳重显瘦小黑裙系列美女手机壁纸分享

随机推荐

(完整)仓库表格大全1,推荐文档

火影优质头像(佐助篇). 张张都是本陌精挑细选的94

tfboys五周年演唱会24日开启,"三小只"将合体丨表情包

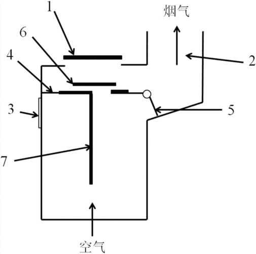
一种无烟燃烧的正烧炊事采暖炉的制作方法

首页 桌面壁纸 日本白神山地世界最美24小时旅游胜地壁纸上一张下一张

郭采洁158cm,赵丽颖165cm,当两人站一起,差距都在腿上了!

故宫地图

泡酒配方