个人简介宣传海报2

相关图片

个人简介海报模板-个人简介宣传海报模板psd下载

大队委竞选海报中小学生班干部个人简历档案自我介绍宣言模板设计

钢琴老师个人简介简约网格竖版海报

个人简介海报设计模板下载-编号3035982-众图网

员工个人简介简约宣传海报

随机推荐

笑容灿烂的美女图片 美女,开心,笑,笑容,灿烂

《王一博赵丽颖》演技一直很好!感情戏遵从内心!_哔哩哔哩_bilibili

16开 线装:玉田县志(一函六册全)【罕见!】 拍品编号:19212226

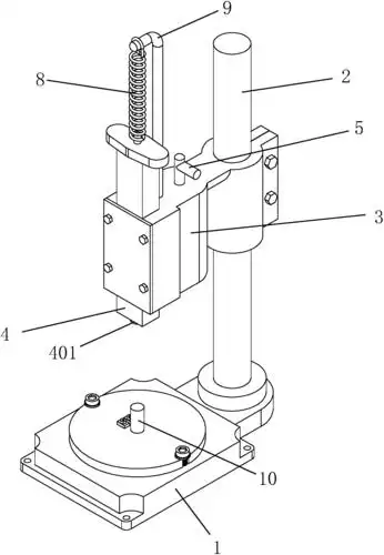
cn206326886u_一种手动冲床有效

卡通可爱表情 i>幼 /i> i>儿 /i> i>园 /i>艺术字数字图形设计素材

孕30周b超产检宝宝头偏小,医生安慰:女生头小说明脸小更漂亮!

杭州-灵隐寺

未来星幼儿园教师手工制作比赛