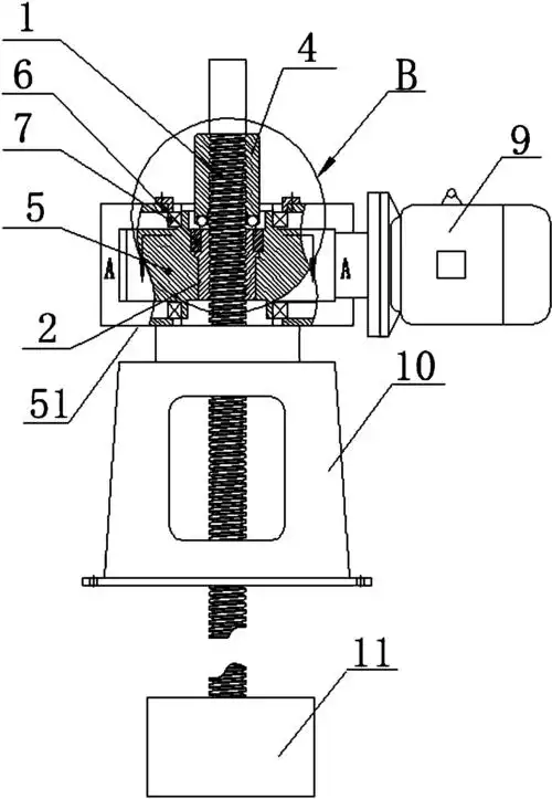
螺杆启闭机qlc3吨侧摇螺杆式启闭机厂家供应启闭机闸门

相关图片

qlzs系列锥齿轮式手摇螺杆启闭机

螺杆式启闭机

ql型2*3-2*50t-双吊点式螺杆启闭机

螺杆式启闭机

ql手电两用系列双吊点螺杆启闭机

随机推荐

美战机飞行员目视歼20,美预警机没拉警报,歼20隐身材料有多强?

秦海璐单眼皮时也很有特色,后来因为倒睫不得已才做了双眼皮

杨幂照片头像图片大全杨幂头像图片大全图片可爱微信

77summernerit小女孩们的速干防晒泳衣

张子枫短发~奶酷甜飒的女生短发发型 张子枫短发~奶酷甜飒的女生

风筝今晚收官罗海琼演员永远只为角色服务

夜幕下的西安大唐不夜城 让人梦回盛唐(组图)

幸福时光----海边拾贝