农村无烟柴火灶设计图纸4款农村柴火灶台设计图欣赏

相关图片

户外用品 亚马逊热卖便携式不锈钢折叠柴火炉 野外野餐露营柴火灶

一种无烟节柴灶制造技术,家用无烟节能柴火灶专利_技高网

2,通风道的设计通风道是指炉篦以下的空间.

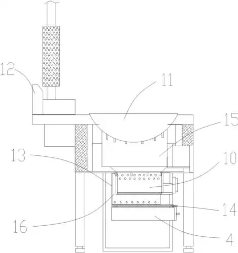
一种柴火集成灶制造技术

cn207539937u_一种组合式多氧调节低烟柴火灶有效

随机推荐

铝艺阳台护栏定做别墅欧式铝合金扶手围栏中式平台栏杆成都厂家.

抖音最火图片一家四口两个儿子,抖音最火图片一家四口两个儿子励志?

吓到我的的孩子了

《少年派》电视剧剧照

英短蓝白 #猫咪日常 #宠物吃播 #猫咪吃播

豪华游船, 游艇, 船上白色背景, 侧面图, 3d 图孤立帅气的赤膊肌肉男

成人塑料浴盆低价出售50自提

人物黑白动漫素材插画绘画线稿手绘女生男生长发短发转载二次元