新日电动锂电池48v20ah代驾折叠自行车大容量电瓶爱玛台铃通用壳

相关图片

新日电动车锂电池48v12ah锂离子容量天能o超威星恒通用模块电瓶

020人付款淘宝t22新日电动车充电器48v12ah原装锂电池60v电瓶72v20a新

新日天能超威电池赋予新日电动车持久耐用的动力

新日新国标锂电池电动车小萝莉pro电动自行车电动车珍珠黑油光黑

新国标48v新日电动车锂电池48v20ah小包车外卖车大容量通用

随机推荐

原创 手绘 壁纸 卡通 q版 周杰伦 棒棒哒 人父 时尚 嘻哈

赵丽颖登时尚芭莎封面国风大片梦幻空灵

科尼塞克幽灵跑车高清电脑壁纸大全分享

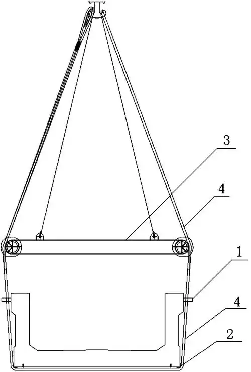
铁路单线简支槽型梁跨铁路捆绑式吊装的装置,属于吊装装置技术领域

王俊凯特写,看了睡不着系列

男学生剃学院风短寸飞机头超帅气 教你修剪短飞机头吹教程大全

探秘人民币制作全过程从白纸到钞票耗时1个月

型男们,今天推荐一款潮流简约黑色百搭修身小脚牛仔裤