商业级橡木木沙滩椅/躺椅

相关图片

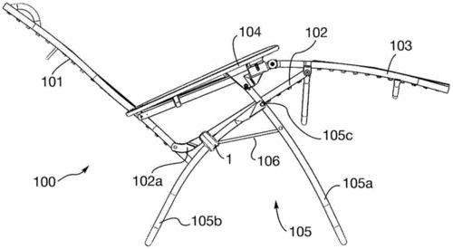
cn109996468a_倾斜折叠躺椅

阳台用躺椅三维图纸01200624

一种便于调节靠背倾斜角度的躺椅的制作方法

一种稳固结构有安全扣的折叠躺椅的制作方法

沙发椅子卧室躺椅懒人床休闲阳台飘窗午休靠背可调节孕妇贵妃*.

随机推荐

《下一任:前任》定档8.17,郑恺搭档郭采洁再度出演 网友:又来蹭热度

古力娜扎的一组美照曝光,她盘发穿白色抹胸裙勾勒完美身材,五官 - 抖

继赘婿大热后宋轶又一新剧重磅来袭和顶流小鲜肉演夫妻

孙怡 条纹长袖针织连衣裙 清新而温暖

斗图黑白动图开车老司机soogifsoogif出品gif动图_动态图_表情包下载

龙洋写真集

北京故宫

裸眼3d图你能看出是什么吗?_360社区