cn204057216u_自动传送机挂钩失效

相关图片

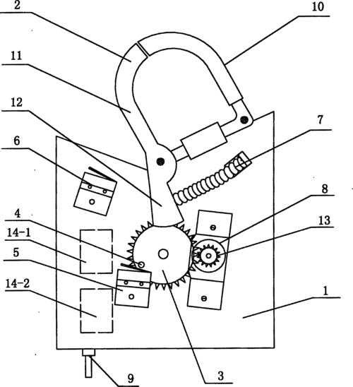
可自动控制开闭的电动挂钩

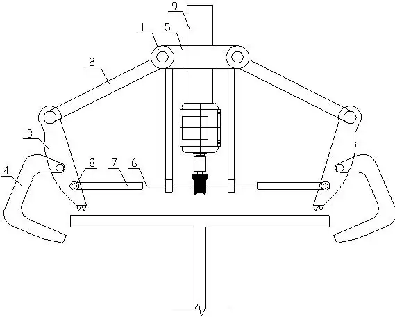
一种自动投放机械挂钩及无人机

一种用于吊装设备的自动脱钩机构的制作方法

一种吊装电力铁塔的高空自动脱钩装置的制作方法

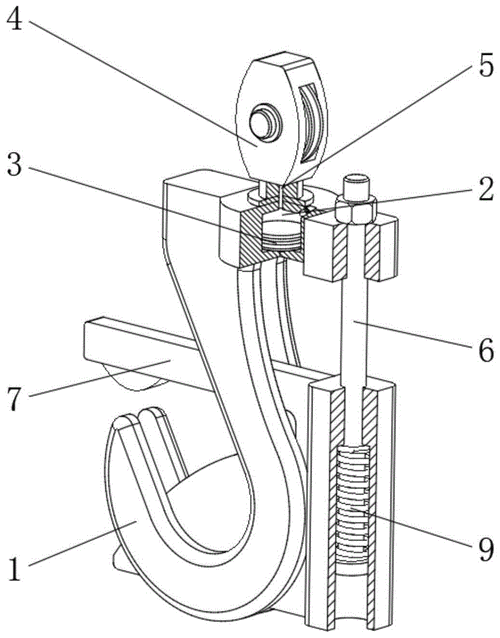
不便,危险系数高,效率低下的问题,包括连接板,连接板的顶部设置有挂钩

随机推荐

exo是真的勇

从籍籍无名到站稳脚跟与胡歌告吹后再无恋情37岁江疏影很稳

昆24中生物组唐晨睿老师公开课——哺乳动物

减肥朋友圈配图

【编号1497】龙霸天下,30个姓氏-微信头像,百家姓氏微信头像,名字壁纸

洋气的短发发型图片女50岁洋气发型短发烫发

镀锌角铁5x5成品接地桩1米2米1.5米2.5米0.5现货电力地线避雷地线

啦啦啦又看完一部粉色罪孽泰剧