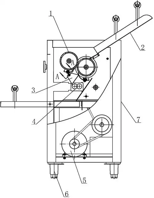
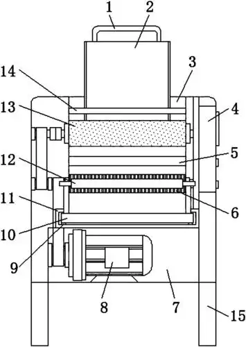
一种带压面切面转换功能的面条机-爱企查

相关图片

一种家用压面机

cn208192045u_一种便于称重型压面机有效

cn203675975u_电动单,双缸活塞式压面机失效

一种压面机制造技术

cn209898119u_一种以蜗杆蜗轮为主要传动的电动压面机有效

随机推荐

手绘 插画 水彩 卡通 可爱 文艺 清新 绘画

睡美人城堡迪士尼乐园-高清摄影壁纸

清华大学深圳国际研究生院揭牌

男星寸头大赏,李现李易峰干练,易烊千玺man爆,最后一位不适合

无油水润滑螺杆空压机厂家公司-永磁变频空压机品牌工厂-奥夫科压缩机

简约白色褶皱h5背景素材

国家大剧院"声如夏花"线上音乐会 女高音歌唱家周晓琳 人们叫我咪咪>

宁静致远37款静字体设计