mood-dragonfly躺椅

相关图片

黎贝卡躺椅折叠成年人竹椅用午睡凉椅老人休闲逍遥椅大人靠背椅子法则

户外实木躺椅酒店泳池沙滩睡椅躺床座垫午休闲网布椅沙实木躺床.

anthar躺椅

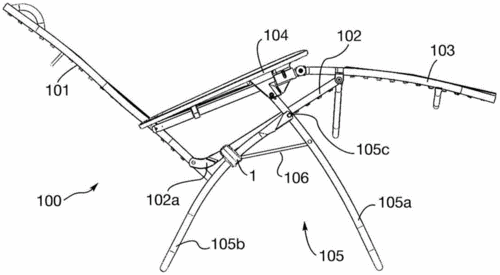
一种保健躺椅

云鸾实木摇椅懒人休闲摇摇椅逍遥椅成人午睡椅躺椅阳台老人椅客厅01款

随机推荐

黑色百褶裙短裙春秋半身裙子女夏遮胯百搭蓬蓬裙高腰显瘦a字伞裙

女生小清新行楷书字帖抖音网红奶酪陷阱体字帖描红练字帖

龙腾虎跃

百分百歌手 上头##庄心妍演唱会

太极服练功服女装2022新款透气亲肤时尚男冬季太极拳飘逸柔软加厚

女演员辛月,嫁给大13岁的二婚男,竟然是因一部话剧!现过得咋样

徐百卉气质优雅迷人高清写真

昆明劳德尔环保建筑胶水 107 108 801胶 砂浆精