一种二次燃烧炉制造技术

相关图片

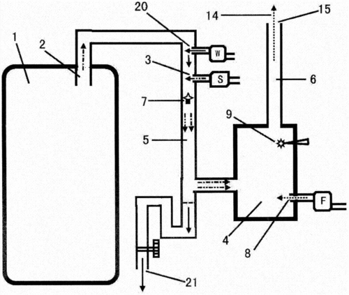
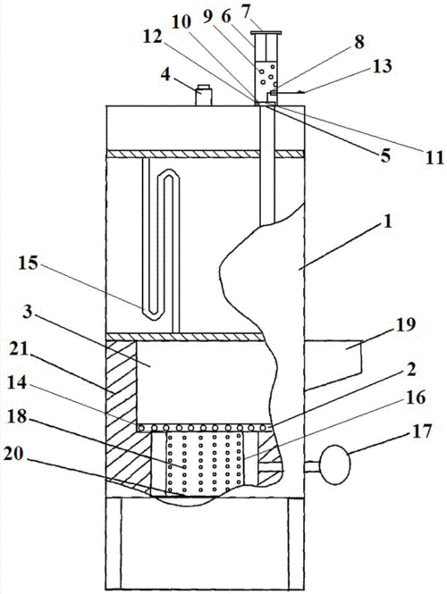
这类烧柴灶点火困难,时间长,污染大,在燃烧时炉内空气量

口加到炉膛内的炉篦上,通过一次风道点燃颗粒燃料,待颗粒燃料燃烧后

关于进藏用柴气炉做饭的柴火问题

magmamini2最轻帐篷柴火炉二次进气钛炉

quick二次燃烧柴火炉

随机推荐

熊猫头动态表情精选

2021创意暗色系艺术字背景图,艺术壁纸-回车桌面

梵克公牛男士秋英伦风西装领风衣外套中长款羊毛呢子大衣

2023大码泳衣女保守连体泳装中老年妈妈款批发印花温泉游泳装

364_300gif 动态图 动图

刘雨昕 cosmo盛典 - 堆糖,美图壁纸兴趣社区

糖醋排骨的家常做法,简单美味

很宝藏的女生头像可爱真人图片