均压环fjh-330

相关图片

卫生间的均压环怎么算

求各位前辈帮助下这个防雷接地图上的线是均压环吗

均压环的作用(什么叫均压环)

建筑防雷设计中,均压环的设计一般有哪些要求?这些要求必不可少

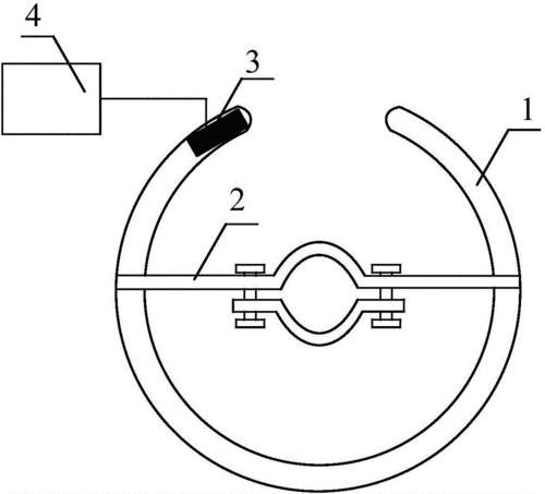
一种具有闪络检测功能的特高压输电线路均压环

随机推荐

一起来画一幅母亲节主题画吧.

有种"示爱"叫爱豆比心,娜扎甜美,李现可爱,看到赵露思:高难度_造型

王一博天天向上##王一博有翡

这三种短发减龄又显气质,好打理又洋气_发型_老年人_时尚

回顾袁树雄:写歌30年穷困潦倒前妻失望离婚,51岁凭首歌逆风翻盘

看电影学英语 lesson 179 疯狂动物城

简笔画手绘涂鸦害羞表情包素材

儿童简笔画和平鸟鸽子国庆元素