山河令温客行周子舒高清壁纸

相关图片

南漫社正版 山河令官方授权周边温客行周子舒角色千片拼图

山河令前12集周子舒x温客行存图

温客行首次见到周子舒的时候就温柔一笑,那手握折扇笑眼盈盈的样子

山河令番外54温客行笑问周子舒什么时候能等来他的洞房花烛夜

《山河令》周子舒:各走各路,温客行:那我走成岭左边,你走右边

随机推荐

昔日熒幕男神如今竟活成了這樣.

郑爽唯美婚纱照 动人惹人怜

学校里的爆笑小学生笑话大全

舞台背景墙造型设计,加急!

day 2 狠人减肥 挑战十天瘦十斤.玉米日 初始体重131 - 抖音

动漫人物头像女古风

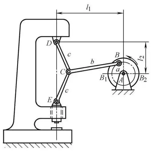
=300mm,l =150mm.以1/4的比例尺画出机构运动简图.

歌手:臻言 / 伊然 所属专辑:男孩女孩 相似歌曲 网易云音乐多端下载