男生毛碎发型图片 毛碎发型这样扎个性显酷

相关图片

男生帅气短头发毛碎发型图片

男士毛碎发型

男生毛碎发型

毛碎发型如何剪 男人短发毛碎发型图片

男生帅气短头发毛碎发型图片

随机推荐

表情包哪里有全套的资源,本期本站的小编为你带来了抖音摇头的小黄鸭

蔡小兰余泽玲何军学秦瑞兵许超李丹周长宝易斌田玉玲赵正桥赵金龙张明

鞠婧祎三宫格二转标明:苏甜柒 - 堆糖,美图壁纸兴趣社区

龚俊的白发造型异常抢眼,充满了一种摇曳生姿的氛围,他的白发或许成为

【布鞋情怀】布鞋美足诱惑(配牛仔裤)(128p)

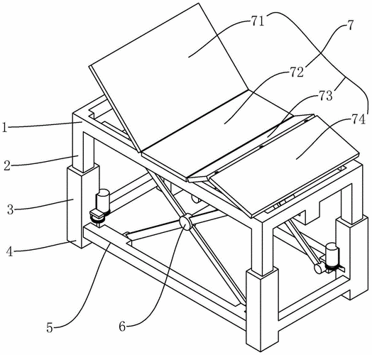
一种具有升降功能的智能折叠床的制作方法

吴冠中经典作品欣赏(一)

很丑的照片女非常丑,很丑的照片男非常丑-图片大观-奇异网