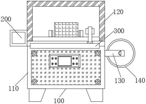
一种打捆机的制作方法

相关图片

工程科技 机械/仪表 > 圆捆打捆机结构及原理圆捆打捆机的工作原理(如

一种高密度不停机圆草捆打捆方法及打捆机与流程

厂家直销自动打包机 纸箱打包机 豪华型纸箱捆包机 自动打包机械

手提式热熔捆包机

一种牵引式捡拾捆草机的制作方法

随机推荐

短发烫发#绵阳发型设计 短发女人也可以性感和可爱05烫发活 - 抖音

王俊凯终于到了法定结婚年纪白衬衫加西装裤女粉大喊快娶我

赵丽颖出道15年演艺经历大盘点有翡盖不住她的光芒

兔巴哥系列大口怪系列外贸毛绒玩具迪斯尼外贸毛绒玩具现货

【hi-res无损音质】最爱-周慧敏

流金岁月原作拍过一部港片,张曼玉演南孙,钟楚红演锁锁,两人的气质

岳云鹏拍大片太出戏,反观师傅中西合璧更帅气,孟鹤堂造型显不羁

冰冻女郎刘叶琳50岁成为新晋健身女郎