枕头的制作方法

相关图片

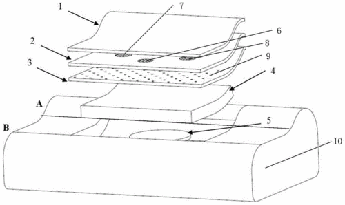
布艺制作学做玲珑枕六孔耳枕

枕头套裁剪尺寸自留

超详细布艺玲珑枕的制作方法 民间传统手工艺制作单孔,六孔耳枕

宫廷六孔耳枕有图纸

护颈枕的制作方法

随机推荐

《黑色五叶草》人在保护自己最重要的人时就会变得很强

赤峰 红山文化博物馆

简笔画:可爱小女孩.可作为头像哦,后面有教程,有喜欢可以点赞 - 抖音

新款高品质运动裤女中老年女士运动裤春夏季薄款休闲高腰直筒松紧腰

万茜长得不惊艳,在众多"妖艳"中甚至容易被忽略,但她才是真rio

以后别做朋友吉他谱

银河系恒星和宇宙长时间曝光的照片与粮食中空间尘埃的特写镜头

太久保持一个体型很容易摆脱,每天晚上睡觉的时候把裤子挂在衣架上就