自动篷布厂家 #自动篷布安装 #自动篷布展示 自动篷布实 - 兑趑

相关图片

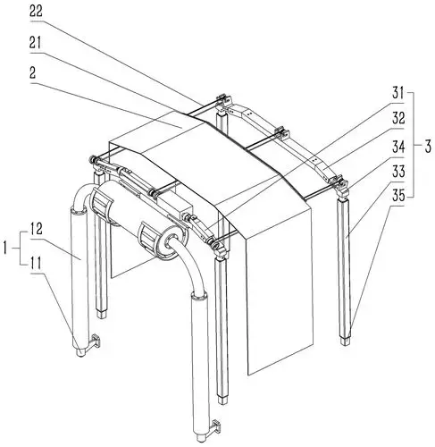
高栏货车加盖电动篷布——圆钢钢丝绳自卸车加盖环保篷布安装

高栏货车加盖电动篷布——圆钢钢丝绳自卸车加盖环保篷布安装

渣土车自动篷布自卸车翻斗车全套货车电动篷布甩杆卷篷配件 轮胎布3.

生产帐篷,雨棚的产品造型时尚,外观优雅,所有产品工厂制作,现场安装

自卸车加盖电动篷布——外置圆钢钢丝绳自动篷布安装说明

随机推荐

肖战表情包#图文动态同步大赛

何况还能玩黑土

看了观众对李菲儿的评价我才懂陈道明当年那番话具有一定含金量

水果头像图片大全2022简约可爱 微信水果头像小清新图片_布阁拉

林志玲白色短裙美腿网友疯狂点赞

女神秀场你是因为什么一直单身着的呢

九岁男孩剪什么发型好看

可爱表情包